タイプ |
定格 |
形状(外寸) |
口金 |
ガラス球 |
フィラメント |
摘要 |
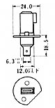
H1 |
12V55W
24V70W |

|
P14.5s
 |
T8.5 |
シングル |
4灯式ヘッドランプ用 |
H3 |
12V55W
24V55W
24V70W |

|
PK22s
 |
T12 |
フォグランプ用、プロジェクターヘッドランプ用 |
H3a |
12V35W
|
|
PK22s
|
フォグランプ用
上段12V55WのH3の灯具には取り付けられません。 |
H3c |
12V55W
|

|
P22d/5
 |
フォグランプ用、プロジェクターヘッドランプ用
口金形状が異なるH3改タイプあり。 |
H3d |
12V35W |

|
P22d/6
 |
フォグランプ用
H3cの灯具には取り付けられません。 |
H4 |
12V60/55W
24V75/70W |

|
P43t-38
 |
T16 |
ダブル |
2灯式ヘッドランプ用 |
H4U |
P43t-38 改
 |
H4および白熱電球D4タイプの灯具両方に使用できます。 |
H7 |
12V55W |

|
PX26d
 |
T10 |
シングル |
4灯式ヘッドランプ用 |
9005
(HB3) |
12V65W |

|
P20d
 |
T12 |
4灯式ヘッドランプ用
(ハイビーム) |
|
9005J
|
12V55W
|

|
特殊コネクター付
|
T12
|
4灯式ヘッドランプ用 |
9006
(HB4) |
12V55W
|

|
P22d
 |
T12
|
4灯式ヘッドランプ用
(ロービーム)
51Wと表示されている場合もありますのが、同じ物です。 |
|
9006J
|
12V55W
|

|
特殊コネクター付
|
T12
|
4灯式ヘッドランプ用 |
702K |
12V45W/55W
12V65W/55W |

|
P30/22L |
T16 |
ダブル |
2灯式ヘッドランプ用 |